金瓯蓝牙模块选型

最小尺寸,最低功耗,最远传输距离 传统蓝牙,双模蓝牙,BLE 模块
芯片:CSR,TI,Dialog,Broadcom,Telink,etc

蓝牙5.0 Mesh 模块


一:产品概述

尺寸:22mm*14.5mm

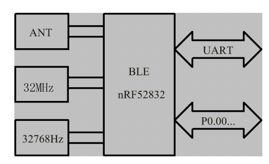
金瓯低功耗蓝牙 Mesh 模块采用了 Nordic 公司的单模 BLE 方案,支持 Bluetooth 5.0 协议。

模块有 2 种角色, 2 种角色下均含有 GATT Server,可被其他 GATT Client(如手机)连接。1. Server:等待被其它设备发现添加入 Mesh 网络。2. Client:主动搜索并添加 Server 设备进 Mesh 网络。用户可通过串口或者 GATT Client 对模块进行参数配置,如设备名称、设备角色、控制命令等。

蓝牙5.0 Mesh模块可以广泛物联网IoT,数据传输,智能家居,智能医疗等。

二:参数

1.名称: 5.0 Mesh 模块

2.规范: 蓝牙规范 5.0 低功耗蓝牙模式(BLE)

3.工作频段: ISM 频段 2.402~2.480GHz

4.天线: PCB 天线

5.有效距离: 40 米

6.实现协议: Mesh、 GAP、 GATT

7.最大GATT连接数: 1

8.通讯接口: 标准 UART,单次最大数据量 244 字节。

9.Client可存储最大Server数: 700

10.芯片: nRF52832

三:应用范围

1.Mesh网络节点设备

2.健身器材设备,如跑步机,健身器等

3.医疗器械设备,如脉博测量计,心率计等

4.家用休闲设备,如遥控器,玩具等

5.办公用品设备,如打印机,扫描仪等

6.商业设备,如收银机,二维码扫描器等

7.手机外设配件,如手机防丢器等

8.汽车设备,如汽车维修仪等

9.其它人机交互设备

四:典型应用

除了基本的开关,时间和亮度、色温控制外,还可以进行MESH组网,可以多达几万组灯光。用户可以自由的通过手机对装有此模块的灯光进行分组分个选择性的控制。例如指定其中某几个灯单独的亮度调节。

方案特点:

1.每个模块带有4路PWM,可以分别控制RGB三种颜色LED组合,一路白色LED

2.最大可以可以控制6万多个灯

3.可以对个灯或每组灯状态进行单独控制,例如亮度,颜色,定时

4.可以直接入蓝牙IPV6网络进行远程控制